Werkstoff: Edelstahl 1.4057 (V4A).

  • Zur Befestigung einer Nabe (z.B. Antriebsrad, Rotor oder ähnliches) auf einer Welle.
  • Für mittlere Drehmomente.
  • Keine axiale Verschiebung bei der Montage.
  • Schnelle Montage.
  • Schnelle Demontage.





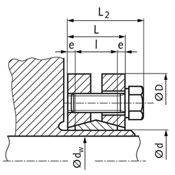
Höchste zul. Rauheit: RZ=16 μm. Nabenaußen-Ø Toleranz = h9.
Empf. Toleranzen für Nabenbohrung/Wellendurchmesser: bis dw Ø 30 = H6/j6; Ø 31-50 = H6/h6; Ø 51-65 = H6/g6.
Kontaktflächen von Welle und Nabe unbedingt entfetten! Nur die Schrumpfscheibe und die Schrauben mit MoS2 einfetten und auf die Nabe aufsetzen. Spannschrauben von Hand gleichmäßig Rautiefe, Toleranzen und Montage eindrehen. Dann die Spannschrauben gleichmäßig der Reihe nach (nicht überkreuzt) in mehreren Umläufen mit stufenweise erhöhtem
Drehmoment anziehen, bis das Schrauben anzugsmoment TA in der Tabelle erreicht ist. Mehrere Anzugsvorgänge sind notwendig, um den erforderlichen TA-Wert zu erreichen. Die angegebenen Werte für T sind für eine Montage des gefetteten Spannsatzes berechnet.

Service:

Katalogseite



Die angebotenen CAD-Daten, Abbildungen und technischen Zeichnungen werden mit größtmöglicher Sorgfalt erstellt.
Dennoch kann keine Gewährleistung für die Fehlerfreiheit und Genauigkeit dieser Daten übernommen werden.

( freibleibend aus Lagervorrat / kurzfristig lieferbar / Lieferzeit nach Vereinbarung. Bitte fragen Sie nach. )
Artikel Menge Innen-Ø d
[mm]
Wellen-Ø dw
[mm]
Drehmom. T
[Nm]
D
[mm]
L
[mm]
L2
[mm]
l
[mm]
e
[mm]
Schrauben
[Anz. x Größe]
Anzugsmoment TA
[Nm]
Flächenpressung PW
[N/mm²]
Gewicht
[kg]
61599814
1410 - 1222 - 52381518,5102,54 x M5 x 122,4123 - 1940,10
61599816
1612 - 1452 - 76411720,5122,55 x M5 x 162,486 - 1520,14
61599820
2015 - 1788 - 120461720,5122,55 x M5 x 163,2164 - 2060,17
61599824
2419 - 21176 - 264502023,5143,06 x M5 x 183,2151 - 1820,22
61599830
3024 - 26280 - 376602225,5163,07 x M5 x 183,2127 - 1470,33
61599836
3628 - 31584 - 7047223,527,5182,755 x M6 x 209,6186 - 2000,52
61599840
4030 - 32616 - 6607223,527,5182,756 x M6 x 209,6173 - 1840,50
61599844
4432 - 36960 - 12008025,529,5202,757 x M6 x 209,6180 - 1950,64
61599850
5038 - 421200 - 16809027,531,5222,758 x M6 x 259,6163 - 1860,87
61599855
5542 - 481360 - 208010030,534,5233,758 x M6 x 259,6141 - 1681,18
61599862
6248 - 522160 - 256011030,534,5233,7510 x M6 x 259,6170 - 1781,41
61599868
6850 - 602000 - 328011530,534,5233,7510 x M6 x 259,6147 - 1701,46


zur Gruppe


Impressum AGB Hilfe Datenschutzerklärung Index


MÄDLER on Facebook Facebook MÄDLER on Youtube YouTube MÄDLER on X X MÄDLER on Instagram Instagram MÄDLER on Xingk Xing MÄDLER on Linkedin LinkedIn