Werkstoff: Kettenrad aus Edelstahl 1.4301 (V2A).

Kugellager aus rostfreiem Wälzlagerstahl. Schraube und Muttern aus Edelstahl.

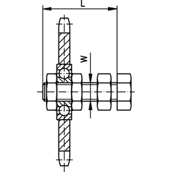
Das Kettenrad kann auf der Schraube verschoben und somit auf die Kettenspur eingestellt werden. Mittels der Muttern wird es in der Position festgesetzt. Das dauergeschmierte 2Z-Lager ermöglicht einen leichten Lauf.

Temperaturbereich: -20° bis +120°C.

Service:

Katalogseite



Die angebotenen CAD-Daten, Abbildungen und technischen Zeichnungen werden mit größtmöglicher Sorgfalt erstellt.
Dennoch kann keine Gewährleistung für die Fehlerfreiheit und Genauigkeit dieser Daten übernommen werden.

( freibleibend aus Lagervorrat / kurzfristig lieferbar / Lieferzeit nach Vereinbarung. Bitte fragen Sie nach. )
Artikel Menge DIN / ISO-Nr. Teilung
[Zoll]
passend zu Spannelement
[Größe]
ZähnezahlTeilkreis-Ø
[mm]
W
[mm]
L
[mm]
Gewicht
[kg]
14099501
06 B-13/8 x 7/32"1 und 21545,81M10550,08
14099505
08 B-11/2 x 5/16"1 und 21561,08M10550,20
14099506
10 B-15/8 x 3/8"31576,36M12800,30
14099507
12 B-13/4 x 7/16"31591,63M12800,51
14099508
16 B-11" x 17,02mm413106,14M201000,95


zur Gruppe


Impressum AGB Hilfe Datenschutzerklärung Index


MÄDLER on Facebook Facebook MÄDLER on Youtube YouTube MÄDLER on X X MÄDLER on Instagram Instagram MÄDLER on Xingk Xing MÄDLER on Linkedin LinkedIn